专利名称:一种可隐匿水下航行的特种舷外机
专利号:ZL202411627087.5
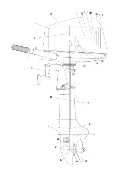
说明:本发明公开一种可隐匿水下航行的特种舷外机,涉及舷外机技术领域,以解决传统形式舷外机无法随时水下航行的问题。驱动装置和传动推进装置安装在壳体两端,驱动装置的曲轴沿壳体长度方向设置,化学加热腔与热敏气缸连通,磁电机风轮安装在曲轴顶部,曲轴与传动推进装置传动连接;热敏气缸内设置有热敏活塞,热敏活塞通过热敏连杆与曲轴传动连接;冷敏气缸内设置有冷敏活塞,冷敏活塞通过冷敏连杆与曲轴传动连接,热敏活塞运动至最左侧时,热敏气缸气体介质腔与冷敏气缸连通;传动推进装置包括驱动轮组和螺旋桨,所述驱动轮组与所述曲轴传动连接,所述驱动轮组与所述螺旋桨传动连接。上述舷外机可随时水下航行。
